El confort y las comodidades para los pasajeros de los vehículos han evolucionado de manera espectacular con el paso del tiempo, convirtiendo el habitáculo de algunos modelos prácticamente en salones de spa: terapias de luz, aromas relajantes, música ambiental… y sistemas de masaje. Estos, que por norma general van incluidos en los asientos, podrían pasar directamente a estar instalados en el suelo del coche, como proponer la patente que ha registrado General Motors.
La patente es la número 16/538,897 del United States Patent and Trademark Office y está registrada bajo el descriptivo nombre de "Vehicle Foot Massage System in a Vehicle Floor", es decir, "Sistema de masaje de pies en vehículos en el suelo del vehículo". Se rellenó en agosto de 2019, pero no fue publicada hasta el 28 de febrero de este año y no ha salido a la luz hasta ahora gracias a GM Authority.
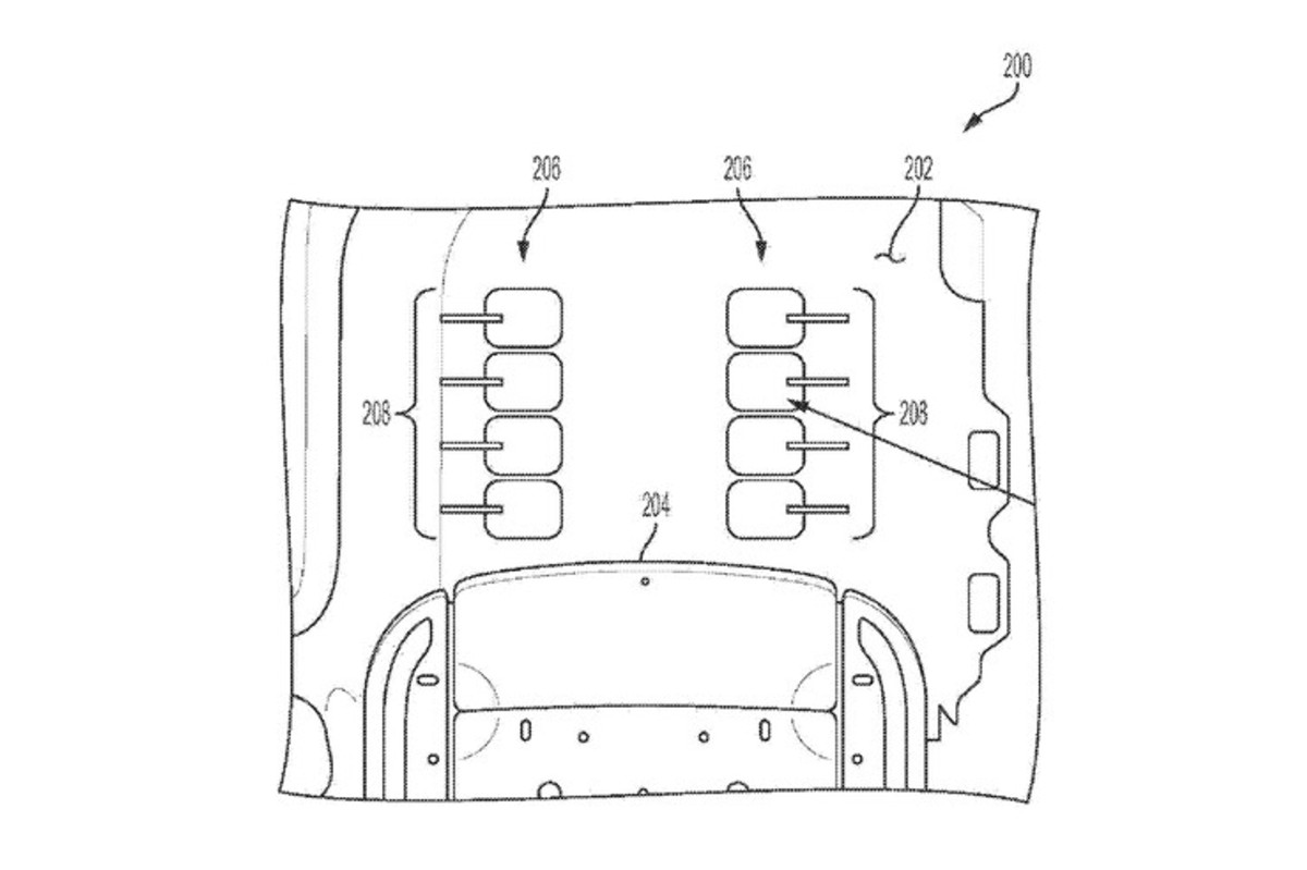
Consiste en un sistema neumático que dispone de dos filas de cavidades que pueden inflarse o desinflarse para crear distintos patrones de masaje y que están colocadas delante de los asientos de los ocupantes excepto, lógicamente, del conductor, por lo que para disfrutarlo basta con quitarse los zapatos. Operarlo es sencillo ya que se activa desde una interfaz de usuario y, aunque no se concreta, la lógica dicta que debería tener varios tipos de movimientos, intensidades, etc.

La propia patente hace referencia a los beneficios que el sistema de masaje de los asientos tiene para sus ocupantes (mejora de la circulación sanguínea, relajación, rebaja de la presión sanguínea, etc.) y que así se ampliaría a otras áreas.
Cabe recordar que no es la primera vez que vemos un dispositivo de masaje para pies en un coche, ya que Audi lo ofrece en su A8 para las plazas traseras, aunque en su caso el usuario tiene que estirar las piernas y poner los pies en el respaldo del asiento delantero, que es el que cuenta con la tecnología.






