Es más habitual de lo que pueda parecer que los fabricantes presentes solicitudes para patentar alguna tecnología o modelo. De hecho, en un mercado tan competitivo como el del automóvil, cualquier idea, denominación o avance no registrado puede acabar en manos de un rival. Lo que no es tan común es que se presenta una solicitud de patente para una moto voladora, algo que ha hecho Subaru recientemente y de la que tenemos los bocetos y algunos detalles.

PAL-V Liberty: el primer coche volador ya se puede comprar en España

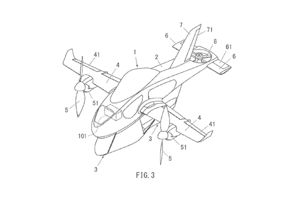
Según informan desde Motorcycle.com, Subaru ha presentado una solicitud de patente a la oficina estadounidense para un vehículo “terrestre y aéreo”. En los bocetos podemos ver la moto voladora de Subaru, o lo que es lo mismo, una motocicleta convencional dentro del fuselaje de un avión.

Subaru presenta una solicitud de patente para su moto voladora

Subaru moto voladora

Durante el despegue las alas se extienden hacia afuera con las hélices hacia arriba, lo que facilita el despegue y aterrizaje vertical con un rotor fijo en la parte trasera. Una vez en el aire, las alas giran horizontalmente para adoptar la configuración de un avión tradicional. Las ruedas de la moto se retraen hacia el interior del fuselaje cuando está en el aire. Y una vez en la carretera, las alas se pliegan hacia los laterales del piso, funcionando como una moto convencional.

La moto voladora de Subaru ha sido diseñada para utilizar un motor de combustión interna en lugar de energía eléctrica. El motor térmico será el encargado de generar la electricidad que impulsa las ruedas. Mientras tanto, los controles de vuelo se fusionan con los mandos de la moto y ofrecería un modo piloto automático. Esto permite al piloto centrarse en los giros, la velocidad y la altitud.

Subaru moto voladora

Subaru es conocido por ser un fabricante con ideas poco convencionales. De hecho, la compañía cuenta con una división aeroespacial que trabaja con Boeing y las fuerzas militares japonesas. Esto le otorga la suficiente experiencia para el desarrollo de vehículos menos convencionales como la moto voladora para la que ha solicitado la patente.

DEJA UNA RESPUESTA

Por favor, introduce tu comentario
Por favor ingrese su nombre aquí

Este sitio usa Akismet para reducir el spam. Aprende cómo se procesan los datos de tus comentarios.