El idílico romance de Porsche con la aerodinámica comienza en 1986 con el mítico Porsche 959, el cual presentaba innumerables avances, no solo para la marca, sino también para la industria automotriz. La compañía afincada en Stuttgart ha seguido trabajando todo este tiempo en el desarrollo de la aerodinámica y su última idea acaba de ver la luz. Porsche patentó el primer difusor trasero activo el pasado 27 de septiembre en la Oficina de Patentes y Marcas de Estados Unidos.
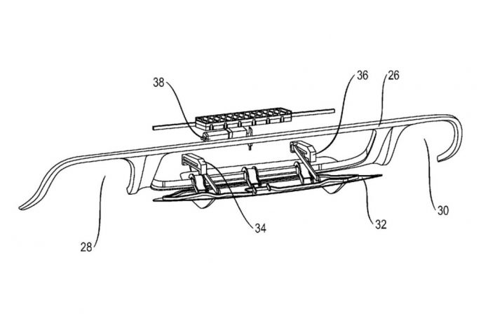
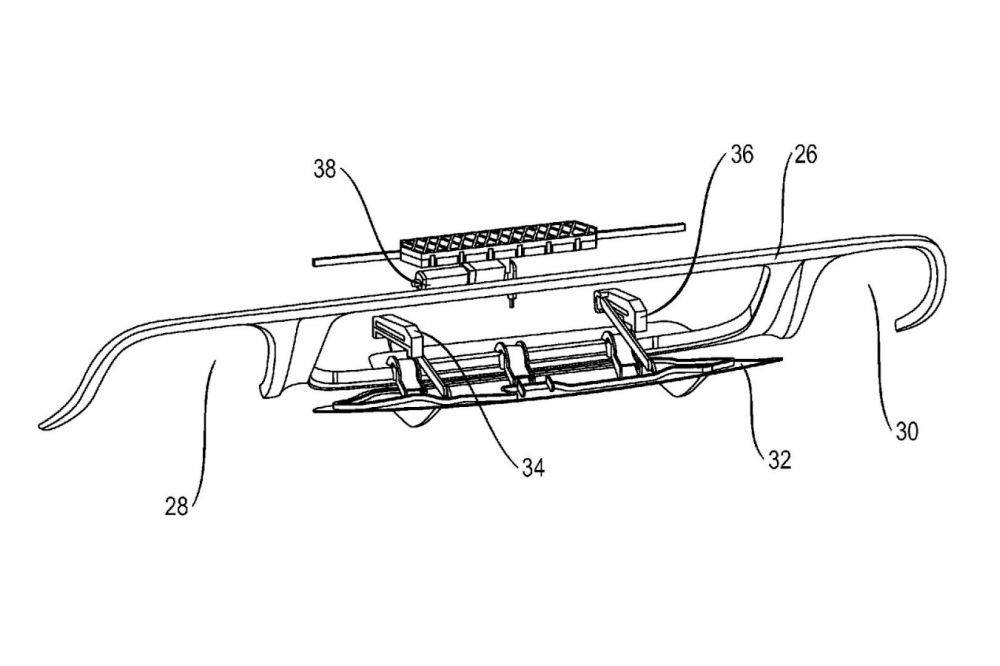
Esta innovación se suma a avances ya presentes en sus modelos, como el alerón trasero activo del Porsche Panamera Turbo de primera generación, o los flaps en los bajos que incluyen muchos Ferrari. Pero para Porsche son “muy engorrosos con respecto a la instalación y la integración en la carrocería”. Sin embargo, su invento se movería directamente por debajo del parachoques y, además, tendría una forma interna cóncava que permitiría que dicho apéndice se camuflara en el panel de la carrocería cuando no estuviera en uso.
Su trabajo en la carrocería permitiría que se desplegara hacia abajo formando una prolongación en la zona posterior inferior del coche, cuya función sería dirigir el aire fuera del vehículo, reduciendo vórtices en la parte trasera y mejorando la aerodinámica. Otro aspecto a destacar sería la posibilidad de que Porsche integrara múltiples apéndices a lo largo de la parte trasera del vehículo, los cuales llegarían a funcionar de forma independiente.
Porsche asegura que este tipo de difusor trasero activo “se podría implementar por toda la anchura del extremo trasero, en vehículos sin tubos de escape como los coches eléctricos, por ejemplo”. Aunque esto no limita su utilización a vehículos sin motor de combustión, ya que, según Porsche, se podría adaptar el número y la posición de estos componentes dependiendo de la cantidad y la disposición de los tubos de escape.













