La compañía surcoreana no deja de sorprendernos. Tras mostrar las primeras imágenes y datos oficiales del Ioniq, un vehículo que puede ser eléctrico puro, híbrido e híbrido enchufable, todo en una misma carrocería y que creado para competir con el exitoso Toyota Prius, podemos asegurar que Hyundai trabaja en un coche plegable para ciudad.
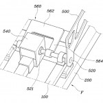
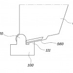
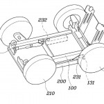
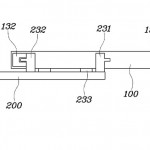
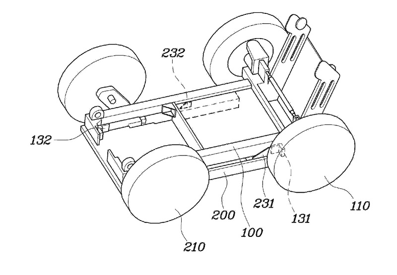
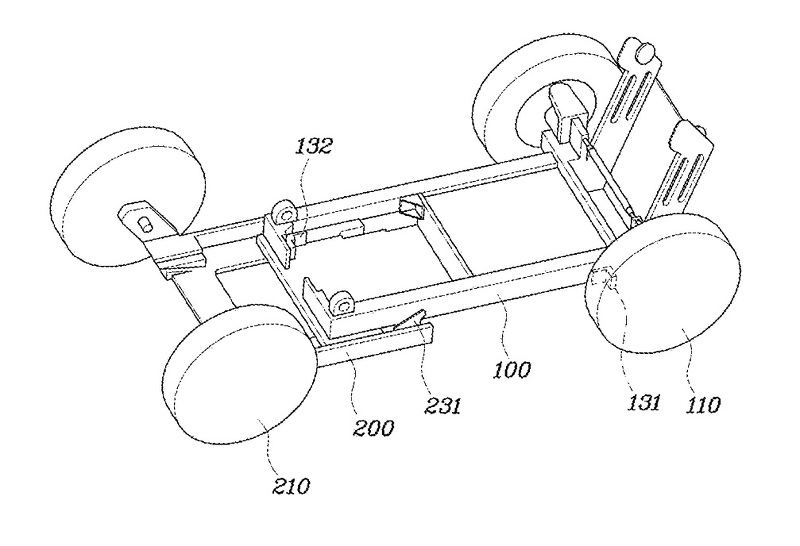
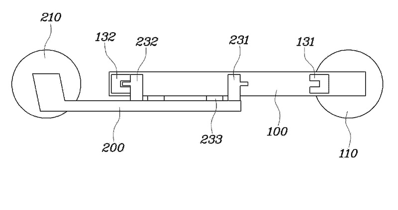
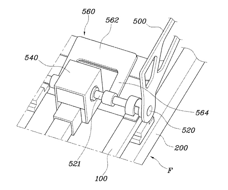
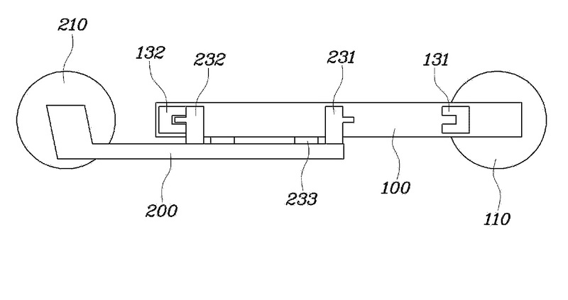
Las imágenes filtradas de la Oficina de Patentes y Marcas de Estados Unidos muestran cómo el departamento de I+D de Hyundai está trabajando a pleno rendimiento para facilitar los desplazamientos por ciudad.
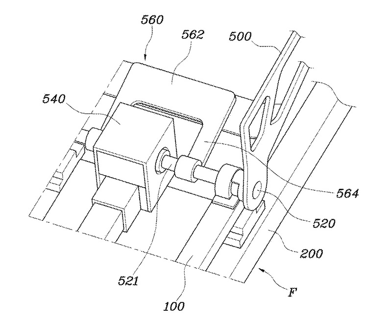
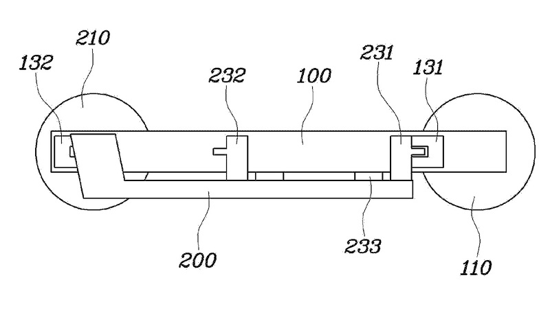
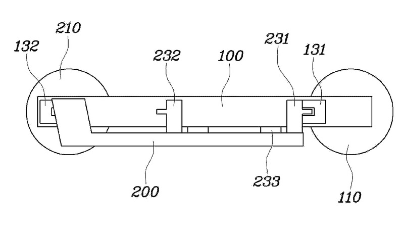
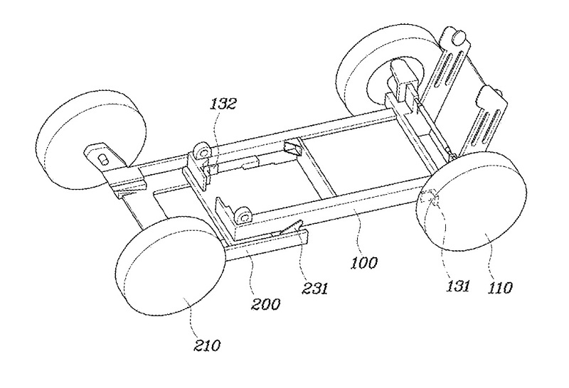
Este curioso vehículo se pliega tanto en su base –la distancia entre ejes se reduce- como en su carrocería, donde los paneles de las puertas quedan recogidos.





















